/ EN / FR
发布时间: 2022-03-28 浏览数量:0

针对中国运动鞋向中亚、俄罗斯市场的出口情况,新丝路科技(河南)有限公司,运用丝路搜、丝路云图、丝路通等外贸大数据软件,通过对海关数据、运输数据、GOOGLE地图商业应用数据、搜索引擎数据、社交媒体数据、站内推送数据等信息源,对上述产品的出口情况进行了大数据分析和汇总报告,为国内相关生产企业提供参考。中国运动鞋出口现状

运动鞋产品出口总体金额下降 

2015-2020年中国运动鞋类体育用品出口规模呈现下降趋势,从2019年的19.81亿 美元减少至2020年的15.94亿美元。2021 年1-5月,中国运动鞋类体育用品出口规模为8.17亿美元。 

纺织鞋面运动鞋靴出口单价最高 

出口单价最高的是“橡或塑外底,纺织材料鞋面运动鞋靴;出口价格水平最低的是 “溜冰鞋,包括装有冰刀的溜冰靴”。

运动鞋出口主要在亚洲,欧洲和北美

中国出口的运动鞋主要销往欧洲、北美和亚洲,2020年中国出口到三地的运动鞋数量分别为23680996、16048181和42708920双,占整个中国出口量的比重分别为25.14%、17.04%和45.34%

图片

图片

海关编码分析

图片

根据海关总署的数据显示,“橡、塑、革外底,皮革面 滑雪鞋靴和板靴”(HScode:64031900)在2021年1-5月出口金额最高,达到了2.56亿美元,占比达到31.36%;其次是“橡胶或塑料制外底及鞋面的其他运动鞋 靴”(HScode:64021900),出口金额为2.15亿美元,占比达到了26.36%。

鞋业海关编码解析1

图片

鞋业海关编码解析2

图片

鞋类出口海关编码排名

图片

中国海关鞋类出口统计

图片

2020-2021中国鞋类报关数据分析从2020.10-2021.10月,过去一年间,64鞋类编码项下,鞋类的出口一 共有78751票货物出口,出口至全球219个国家和地区。

出口全球数据统计1

图片

出口全球数据统计2

图片

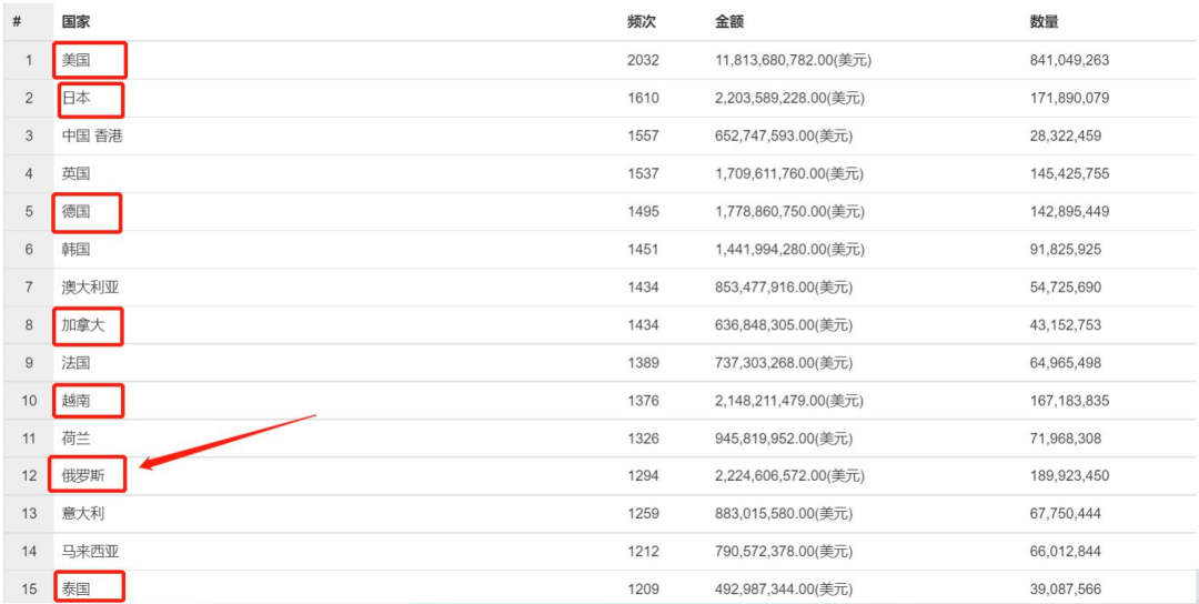
中国鞋业出口各国数据统计 TOP10

图片

2020-2021 Top 10出口国家分析 从2020.10-2021.10月,过去一年间,64编码项下,鞋类的出口排名TOP10国家有:美国,日本,韩国, 澳大利亚,法国,英国,加拿大,德国, 越南,中国香港等。

各国进口鞋类数据明细

图片图片图片图片图片图片图片

2021年鞋类量价走势图

图片

2021年上半年鞋类出口量相对稳定增长,下半年9月份开始出口量逐步减缓。

一带一路国家鞋类进口金额统计分析

图片

2020.10-2021.10月,一带一路班列国家鞋类进口总计约18亿9754万美金。

一带一路国家鞋类进口金额统计分析 (具体国家)

图片

2020.10-2021.10月,俄罗斯共进口8亿6628万美金,哈萨克斯坦进口4亿8736万美金,乌兹别克进口1997万美金,吉尔吉斯1080万美金,塔吉克396万美金。

俄罗斯鞋类进口客户 TOP 10

图片

2020.10-2021.10月,俄罗斯一共有2000家企业从事鞋类(HS64)的进口,以上图表为TOP 10 进口商名录,TOP 1是ООО МЕРКУРИ МОДА,进口金额约为40亿卢布,TOP 10 是TEMA ООО ГЕОКС РУС,进口金额约为4亿700万卢布。(以上数据仅为正规报关数据)。

乌兹别克鞋类进口客户 TOP 10

图片

2020.10-2021.10月,乌兹别克一共有569家企业从事鞋类(HS64)的进口,以上图表为TOP 10 进口商名录,TOP 1是OOO RTF FASHION RETAIL,进口金额约为326万美金。(以上数据仅为正规报关数据)。

美国鞋类进口客户 TOP 10

图片

2020.10-2021.10月,美国一共有2000家企业从事童装(HS64)的进口,以上图表为TOP 10 进 口商名录,TOP 1是NIKE USA INC,TOP 10 是C J CLARK AMERICA INC。(以上数据仅为正规报关数据)。


来源:海外仓营销